首页
>
关于奥拓福
>
公司简介
产品中心
>
工程水刀
切割平台
高压泵组
便携水刀
激光切割
定制水刀
配件专区
>
配件专区
案例展示
>
水刀研究院
>
新闻资讯
>
公司新闻
行业资讯
应用案例
>
定制服务
>
技术合作
>
联系我们
>
русский язык
|
English
产品咨询热线
400-83-29299
русский язык
|
English
首页
产品中心
工程水刀
切割平台
高压泵组
便携水刀
激光切割
定制水刀
配件专区
配件专区
案例展示
水刀研究院
新闻资讯
公司新闻
行业资讯
技术合作
联系我们
x
首页
>
水刀研究院
图形实体自动排序
来源:
时间:2021-06-23
浏览:5133
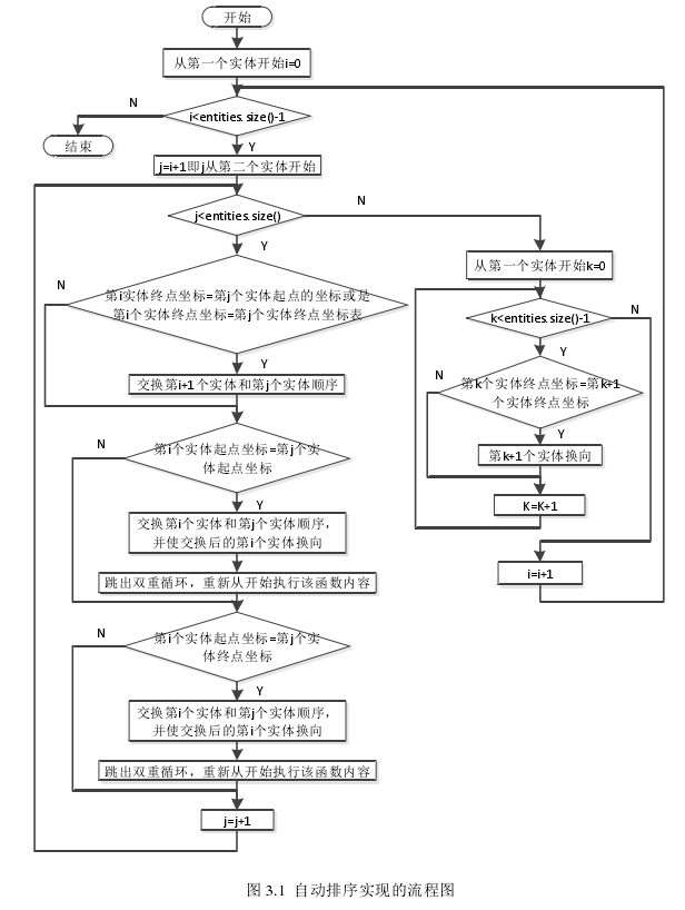
图形实体在创建时是以一定的方式被放到实体容器中的,比如按先创建先放的顺
序。但往往在加工由多个实体组成的某一轮廓轨迹工件时,要按照最短路径的方式或
是简便的方式走完整个轮廓,使工作时间最短,效率最高。自动排序就是按照这种加
工路径最短的方式实现的。当实体数量较多,而且顺序杂乱无章时,用户要花很长时
间,且要经过多次操作来实现一定的顺序,所以自动排序的方式也方便了用户的操作。
图形元素自动排序的实现也就是对链表(
RS_Entity *entities
)中实体指针进行重排,
根据零件轮廓线上前、后图形实体邻接的原则,确定了加工方向和下一个邻接实体,
然后建立一个临时的实体指针
RS_Entity *temple
用于交换链表
entities
中两个实体指
针的位置,交换后的实体指针存储到链表
entities
中。自动排序实现的具体流程图如
图
3.1
所示。自动排序实现前后的效果图分别如图
3.2
和图
3.3
所示。排序前,创建实
体的顺序为
1-4-2-5-3
,自动排序后的顺序为
1-2-3-4-5
。
上一条:
CAD/CAM 一体化上位机软件与华中8型数控系统下位机通信
下一条:
图形实体手动排序
友情链接:
uv打印机
水刀
水切割机
水刀厂家
矿用光缆
ADC弹性地板
网站首页
关于奥拓福
公司简介
新闻资讯
公司新闻
行业资讯
应用案例
联系我们
400-83-29299
售后服务
售前服务
关注公众号
奥拓福水刀水切割厂家质量最好【官网】 版权所有 Copyright 2019-2025
辽ICP备2021002461号-1