高压水射流设备对水质的要求
高压水射流设备,尤其是高压水射流切割设备对水质的要求较高,良好的水质不仅有助于提高泵 密封及阀的可靠性与寿命,而且对延长喷嘴寿命、产生高效射流等均具有十分重要的意义。
MORE+
超高压发生器
超高压发生器是水切割机的核心,是水射流动力产生装置。 超高压泵与增压器是超高压发生设备的两种形式
MORE+
磨料喷嘴的磨损
高速磨料粒子对喷嘴的磨损,性质上属于磨料磨损的范畴。
MORE+
磨料射流系统
现行磨料水悬浮液射流大多采用上节所述旁路加压方法,所不同的只是工作压力及磨料混合方式。
MORE+
磨料射流原理
磨料射流的关键是射流中磨料颗粒 的存在
MORE+
高压水射流设备对高压软管的要求
高压水射流设备用高压软管特点是工作压力高,现有标准滞后其产品。GB/ T 3683 - 92 规定了对钢丝增强液压橡胶软管和软管总成的有关要求,但仅限定在工作压力为 35MPa 以下的 3 层钢丝增强的橡胶管。
MORE+
配管与连接
配管与连接是高压水射流设备的重要组成部分。高压流体自泵端至喷头间往往要经过较长的距离,其间还应有控制阀、各种接头等。配 管和连接是否恰当直接影响系统的性能和工作寿命,必须引起高度的 重视。
MORE+
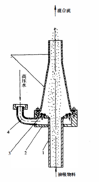
真空喷头
高压水射流某种程度上又叫做高速水射流,其速度接近lOOOm/s也是很正常的。利用高速水射流形成真空引射的特点,仿照水射流真 空泵的原理进行设计,真空喷头便成了高压水射流设备的一个附加功 能件,它以很低的成本在吸上和输送用途中可与射流真空泵相媲美。
MORE+