大功率超高压泵应用范围
大功率超高压水射流系统,适合解决工业清洗、除锈和除锈等所有问题。
MORE+
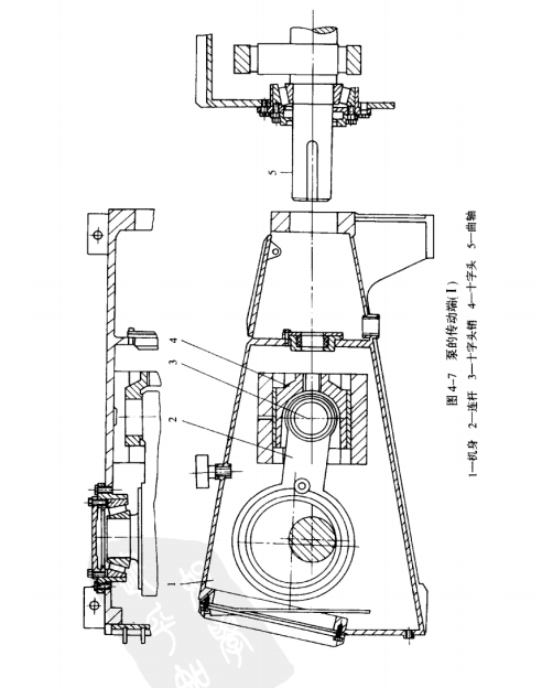
高压泵的传动端
以曲柄连杆机构为传动端的机动往复泵,一方面通过这一机构把原动机的旋转运动转化为柱塞的往复运动,一方面则经它把原动机的机械能传递给被输送液体。
MORE+
水射流冲击速度对横向裂纹的影响
横向裂纹的产生导致砂岩出现大体积破碎,且裂纹数量越多,砂岩破碎越彻底。水射流冲击速度与砂岩产生横向裂纹数量的关系可以看出,横向裂纹的数量与水射流速度呈非线性分布;当射流速度较小的时候,横向裂纹数量少,随着射流速度的增加,横向裂纹数量缓慢增加,当射流速度达到大约632m/s时,横向裂纹数量达到最大值;继续增...
MORE+
高压水射流冲击刚壁压力分布规律研究
为了探讨高压纯水射流和高压磨料射流中冲击刚壁射流冲击压力的分布规律,利用建立的专用测力工作台,研究了射流方向与刚壁尘成90°角时冲击压力的分布规律及靶距、系统对工作压力的影响。并对磨料进行强化效果进行分析。结果表明,靶距不变的情况下,纯水射流的磨料射流,其中最高压力的位置的冲击力和系统压力呈正相关
MORE+
高压清洗机
高压清洗机由上世纪70年代出兴,进入90年代已成为水射流成套设备中最具代表、应用面最广的一类产品。它的发展经历了由低压到高压(如我国80年代初期为30MPa、37MPa、37KW,90年代末期为150MPa、250KW),由单机到成套即周边设备的扩展的过程。
MORE+